Ruang bakar pada mesin diesel adalah merupakan bagian yang penting untuk menentukan kemampuan daripada mesin diesel itu sendiri. Pada saat ini telah dikembangkan berbagai macam konfigurasi ruang bakar (combustion chamber) mesin diesel untuk menjamin bahan bakar yang disemprotkan ke dalamnya dapat mengurai, mengabut, dan bercampur rata dengan udara : Cara yang digunakan disini meliputi pembentukan saluran masuk pada kepala silinder sedemikian rupa sehingga udara berputar di dalam silinder, atau dengan jalan menambahkan ruang bakar tambahan (auxilary combustion chamber) yang dapat mempercepat ekspansi gas pada tahap pembakaran awal untuk meningkatkan efisiensi pembakaran mesin diesel. Ruang bakar yang digunakan pada kendaraan adalah :
Ruang bakar Langsung :
- Tipe Injeksi langsung ( Direct Injection)
Ruang Bakar Tambahan (Auxilari Combustion Chamber) :
- Tipe ruang bakar kamar depan ( Precombustion Chamber)
- Tipe Kamar Pusar (Swirl Chamber)
Injection Nozzle menyemprotkan bahan bakar langsung ke ruang bakar utama (main combustion chamber) yang terdapat di antara cylinder head dan piston (torak). Ruang yang ada pada bagian atas piston (torak) merupakan salah satu bentuk yang dirancang untuk meningkatkan efisiensi dalam pembakaran.
Macam macam Ruang Injeksi Langsung :
- Multi-spherical
- Hemispherical
- Spherical
Keuntungan Ruang bakar tipe injeksi Langsung
a). Penampang permukaan ruang injeksi langsung yang kecil dapat
mengurangi kerugian panas sehingga menaikkan temperatur udara yang
dikompresikan dan menyempurnakan pembakaran. Pada tipe ini pemanasan
awal tidak diperlukan untuk start dengan suhu udara sekitarnya normal.
Efisiensi pana yang tinggi disini juga dapat meningkatkan output dan
menghemat penggunaan bahan bakar diesel.
b). Struktur cylinder head lebih sederhana, jadi kemungkinan detonation karena panas akan lebih kecil
c). Karena kerugian panasnya kecil, maka perbandingan kompresinya dapat diturunkan.
Kerugian Ruang bakar tipe injeksi langsung
a). Pompa injeksi harus mampu menghasilkan tekanan tinggi yang
diperlukan untuk meng atomisasikan bahan bakar dengan memaksanya keluar
melalui nozle tipe berlubang banya (multi hole)
b). Kecepatan maximumnya lebih rendah karena pusaran campuran bahan
bakar lebih kecil daripada tipe ruang bakar tambahan (auxilary
combustion chamber)
c). Tekanan pembakaran yang tinggi menimbulkan suara yang lebih keras dan resiko knocking lebih besar
d). Mesin sangat peka terhadap kualitas bahan bakar, biasanya diperlukan bahan bakar yang bermutu tinggi
Ruang Bakar Tambahan (Auxilary Combustion Chamber)
a) Ruang Bakar Kamar Depan (Pre-Combustion Chamber)
Mesin dengan ruang bakar kamar depan (prechamber) dipasangkan pada kendaraan penumpang dimana kenyamanan lebih penting dari pada kendaraan komersial, disamping itu mesin diesel dengan ruang bakar prechamber menghasilkan sangat rendah racun emisi (HC dan NOx) dan biaya pembuatan lebih rendah daripada mesin injeksi langsung.
Keistimewaan mesin diesel adalah sangat cocok jika menggunakan dengan turbocharger atau supercharger mekanis, dengan menggunakan turbocharger pada mesin diesel tidak hanya meningkat tenaga/dayanya saja tetapi juga meningkatkan efisiensi, mereduksi suara pembakaran dan kandungan racun pada gas buang.
Pada ruang bakar motor diesel injeksi tidak langsung untuk kendaraan penumpang, bahan bakar disemprotkan ke dalam ruang bakar pendahuluan (prechamber) yang telah dipanaskan dan disinilah awal pembakaran terjadi untuk mencapai formasi campuran yang baik dengan mereduksi pengapian susulan untuk proses pembakaran utama (gambar bawah).
Bahan bakar diinjeksikan oleh injektor jenis throttling pintle
nozzle/satu lubang (singgle hole) dengan tekanan rendah relatif (di
bawah 300 bar). Permukaan ruang prechamber didesain secara khusus agar
penyemprotan bahan bakar berada sedemikian rupa di tengahnya serta
membentur dan bercampur dengan udara secara terus menerus. Pembakaran
dimulai dan merambat campuran bahan bakar udara serta dibakar secara
parsial melaui lubang-lubang di bawah ruang bakar prechamber ke ruang
bakar utama (main combustion chamber) di atas silinder, campuran
dipanaskan terus selama proses pembakaran terjadi. Di sini pencampuran
terus terjadi dengan udara dalam ruang bakar utama dan pembakaran
dilanjutkan sampai sempurna.
Perlambatan proses pembakaran dan pengontrolan pelepasan energi pada segala tingkat tekanan dalam ruang bakar utama, menghasilkan suara lebih rendah dan beban yang lebih ringan dalam silinder motor. Versi jenis ruang bakar prechamber yang telah dioptimalkan menghasilkan kadar racun rata-rata 40 % lebih rendah pada gas buang. Bentuk ruang bakar prechamber yang telah dimodifikasi secara khusus akan dapat meningkatkan pusaran gerakan udara dari silinder ke ruang prechamber. Bahan bakar diinjeksikan pada sudut 5 derajat dari garis tengah ruang bakar ini, busi pijar (glow plug) diletakkan di bawah aliran udara untuk melindunginya dari proses pembakaran. Pengontrolan pemanasan ruang bakar melalui busi pijar sampai 1 menit setelah start (tergantung dari temperatur air pendingin mesin) dimaksudkan memperbaiki gas buang dan mengurangi suara dalam periode pemanasan.
Keuntungan :
Pada ruang bakar motor diesel injeksi tidak langsung untuk kendaraan
penumpang, bahan bakar disemprotkan ke dalam ruang bakar pendahuluan
(prechamber) yang telah dipanaskan dan disinilah awal pembakaran terjadi
untuk mencapai formasi campuran yang baik dengan mereduksi pengapian
susulan untuk proses pembakaran utama (gambar 3.112). Bahan bakar
diinjeksikan oleh injektor jenis throttling pintle nozzle /satu lubang
dengan tekanan rendah relatif (di bawah 300 bar). Permukaan ruang
prechamber didesain secara khusus agar penyemprotan bahan bakar berada
sedemikian rupa di tengahnya serta membentur dan bercampur dengan udara
secara terus menerus. Pembakaran dimulai dan merambat campuran bahan
bakar udara serta dibakar secara parsial melaui lubang-lubang di bawah
ruang bakar tambahan ke ruang bakar utama di atas silinder, campuran
dipanaskan terus selama proses pembakaran terjadi. Di sini pencampuran
terus terjadi dengan udara dalam ruang bakar utama dan pembakaran
dilanjutkan sampai sempurna.
Pada awal proses pembakaran, campuran bahan bakar udara dibuat dalam ruang bakar utama melalui area batang/leher dan dicampur dengan udara pembakaran residual. Dibandingkan dengan proses ruang bakar pre chamber, kerugian-kerugian aliran antara ruang bakar utama dan ruang bakar tambahan lebih rendah untuk ruang bakar kamar pusar, karena aliran penampang-silang (cross-section) lebih besar, hal ini menjadikan kerja putaran/beban lebih rendah, konsumsi bahan bakar dan efisiensi lebih baik.
Hal yang penting adalah bahwa formasi campuran ditempatkan secara sesempurna mungkin dalam ruang bakar kamar pusar Desain ruang bakar kamar pusar, pengaturan dan pembentukan semprotan Nozel dan juga kontak busi pijar (glow plug) yang tepat akan menjadikan formasi campuran yang bagus pada segala kecepatan dan segala
kondisi beban.
Hal lain yang diperlukan adalah pemanasan yang cepat ruang kamar pusar setelah start dingin, hal ini akan mengurangi keterlambatan pengapian dan menghindari produksi hidrokarbon yang tak terbakar (asap biru) dalam gas buang selama proses pemanasan.
Keuntungan :
a) Ruang Bakar Kamar Depan (Pre-Combustion Chamber)
Mesin dengan ruang bakar kamar depan (prechamber) dipasangkan pada kendaraan penumpang dimana kenyamanan lebih penting dari pada kendaraan komersial, disamping itu mesin diesel dengan ruang bakar prechamber menghasilkan sangat rendah racun emisi (HC dan NOx) dan biaya pembuatan lebih rendah daripada mesin injeksi langsung.
Keistimewaan mesin diesel adalah sangat cocok jika menggunakan dengan turbocharger atau supercharger mekanis, dengan menggunakan turbocharger pada mesin diesel tidak hanya meningkat tenaga/dayanya saja tetapi juga meningkatkan efisiensi, mereduksi suara pembakaran dan kandungan racun pada gas buang.
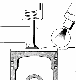
Pada ruang bakar motor diesel injeksi tidak langsung untuk kendaraan penumpang, bahan bakar disemprotkan ke dalam ruang bakar pendahuluan (prechamber) yang telah dipanaskan dan disinilah awal pembakaran terjadi untuk mencapai formasi campuran yang baik dengan mereduksi pengapian susulan untuk proses pembakaran utama (gambar bawah).
![]() |
| Ruang Bakar Kamar Depan |
Perlambatan proses pembakaran dan pengontrolan pelepasan energi pada segala tingkat tekanan dalam ruang bakar utama, menghasilkan suara lebih rendah dan beban yang lebih ringan dalam silinder motor. Versi jenis ruang bakar prechamber yang telah dioptimalkan menghasilkan kadar racun rata-rata 40 % lebih rendah pada gas buang. Bentuk ruang bakar prechamber yang telah dimodifikasi secara khusus akan dapat meningkatkan pusaran gerakan udara dari silinder ke ruang prechamber. Bahan bakar diinjeksikan pada sudut 5 derajat dari garis tengah ruang bakar ini, busi pijar (glow plug) diletakkan di bawah aliran udara untuk melindunginya dari proses pembakaran. Pengontrolan pemanasan ruang bakar melalui busi pijar sampai 1 menit setelah start (tergantung dari temperatur air pendingin mesin) dimaksudkan memperbaiki gas buang dan mengurangi suara dalam periode pemanasan.
Keuntungan :
- Pemakaian jenis bahan bakar lebih luas. Bahan bakar yang relatif kurang baik dapat digunakan, dengan asap yang tidak pekat.
- Muda pemeliharaannya karena tekanan injeksi bahan bakar relatif rendah dan mesin tidak begitu peka terhadap perubahan timing injeksi
- Karena disini digunakan throtle type nozzle, maka diesel knocking dapat dikurangi dan kerja mesin lebih tenang
- Biaya pembuatan lebih tinggi karena bentuk silinder lebih rumit
- Diperluan starter yang lebih besar.
- Pemakaian bahan bakar relatif lebih boros.
![]() |
| Ruang Bakar Kamar Pusar |
Pada awal proses pembakaran, campuran bahan bakar udara dibuat dalam ruang bakar utama melalui area batang/leher dan dicampur dengan udara pembakaran residual. Dibandingkan dengan proses ruang bakar pre chamber, kerugian-kerugian aliran antara ruang bakar utama dan ruang bakar tambahan lebih rendah untuk ruang bakar kamar pusar, karena aliran penampang-silang (cross-section) lebih besar, hal ini menjadikan kerja putaran/beban lebih rendah, konsumsi bahan bakar dan efisiensi lebih baik.
Hal yang penting adalah bahwa formasi campuran ditempatkan secara sesempurna mungkin dalam ruang bakar kamar pusar Desain ruang bakar kamar pusar, pengaturan dan pembentukan semprotan Nozel dan juga kontak busi pijar (glow plug) yang tepat akan menjadikan formasi campuran yang bagus pada segala kecepatan dan segala
kondisi beban.
Hal lain yang diperlukan adalah pemanasan yang cepat ruang kamar pusar setelah start dingin, hal ini akan mengurangi keterlambatan pengapian dan menghindari produksi hidrokarbon yang tak terbakar (asap biru) dalam gas buang selama proses pemanasan.
Keuntungan :
- Dapat dicapai kecepatan mesin yang tinggi karena turbulensi kompresinya tinggi
- Gangguan pada nozzle lebih kecil karena menggunakan pin type nozzles.
- Tingkat kecepatan mesin lebih luas dan operasinya yang halus membuatnya banyak digunakan untuk mobil penumpang.
- Kontruksi cylinder head dan cylinder block (block silinder) rumit
- Efisiensi panas dan konsumsi bahab bakarnya lebih buruk daripada sistem injeksi langsung
- Menggunakan busi pijar, tetapi ini kurang efektif untuk kamar pusar yang besar, karena mesin tidak mudah start
- Diesel knock akan lebih besar pada kecepatan rendah.



Tidak ada komentar:
Posting Komentar